
1月15日晚间,宝馨科技公告,拟公开挂牌出售子公司部分资产,挂牌底价5,023.34万元。
公告显示,江苏宝馨科技股份有限公司(以下简称“公司”)子公司内蒙古宝馨绿能新能源科技有限公司(以下简称“内蒙古宝馨”)拟通过公开挂牌转让的方式出售其所持有的一批在建的光伏异质结组件设备及组件设备配套的机电辅助设施设备等实物资产。

目前,这批资产现存放于内蒙古宝馨园区内。
据悉,该标的资产账面价值7,853.36万元(含税),评估价格为5,023.34万元(含税)
公司根据评估结果,将以资产评估值5,023.34万元(含税)为挂牌底价,在内蒙古产权交易中心公开挂牌转让标的资产。同时,本次拟挂牌交易标的设备等不涉及人员安置、债务重组、同业竞争等情况
宝馨科技在另一则公告中解释,本次出售标的资产,主要是为优化资源配置,聚焦战略重点,推动公司持续稳定健康发展。
根据此前2025年三季报显示,宝馨科技前三季度实现营业收入1.5亿元,同比下滑33.8%,归属于上市公司股东的净利润为亏损5445.58万元,同比增长67.05%。
截至2025年9月底,公司负债率达92.76%。
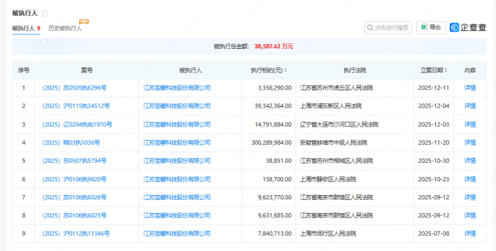
此外,据企查查最新信息显示,宝馨科技已经9次被列为被执行人,被执行总金额达3.85亿元;2次被列为失信被执行人,未履行总金额509.50万元;法人2次被列为限制高消费,涉案总金额25.19万元。

加杠杆的股票,股票配资论坛资料大全,安庆股票配资提示:文章来自网络,不代表本站观点。